Размер шрифта
Цвет фона и шрифта
Изображения
Озвучивание текста
Обычная версия сайта
Мединком
Поставки медицинского оборудования
+7 846 203-17-84
+7 846 203-17-84
E-mail
info@medincom.org
Адрес
Самара, пос. Смышляевка, ул. Механиков, здание 12 Г
Режим работы
Пн.–Чт.: с 8:30 до 17:30
Пт.: с 8:30 до 16:30
Подать заявку
Компания
  • О компании
  • Лицензии
  • Производители
  • Партнеры
Каталог
  • Одноразовые эндоскопические инструменты (ZPM)
    • Захватывающие щипцы одноразовые
    • Корзинки эндоскопические одноразовые
    • Петли эндоскопические одноразовые
    • Щипцы биопсийные одноразовые
  • Инструменты и аксессуары для эндоскопии
    • Биопсийные щипцы
    • Полипэктомия, EMR и ESD
    • Гемостаз
    • Захватывающие щипцы
    • Устранение стриктур
    • Принадлежности для эндоскопии
    • Хирургические операции протоков желчного пузыря и поджелудочной железы
    • Инструменты для бронхоскопии
    • Пункция под контролем ультразвука
    • Очистка, дезинфекция и стерилизация
  • Инструменты и оборудование для хирургии
    • Урология
    • Гинекология
    • Хирургия
    • Интубация
    • Артроскопия
    • Оборудование
  • Эндоскопическое оборудование
    • Медицинские эндоскопы
    • Видеопроцессоры и источники света
  • Электрохирургия
    • Система ESG-300 и аксессуары
    • Система ESG-150 и аксессуары
  • Медицинские тележки для хранения эндоскопов и инструментов
    • Медицинские тележки ScopeCare
  • Мониторы
    • Мониторы Beacon
    • Мониторы FSN
    • Мониторы ScopeCare
  • Инсуффляторы
    • Инсуффлятор Olympus и акссесуары
    • Инсуффляторы Prometheus
  • Насосы
    • Промывочный насос Olympus и аксессуары
  • Эндоскопические помпы
    • Эндоскопические помпы Prometheus
  • Аспираторы
    • Аспиратор Nouvag
    • Аспиратор Olympus и аксессуары
    • Аспираторы Dixion
  • Моечная машина для эндоскопов
    • Установка моечная для промывки эндоскопов Olympus и аксессуары
    • Установки для мойки эндоскопов Prometheus
  • Тестеры герметичности
    • Тестеры герметичности Prometheus
  • Медицинские видеорекордеры
    • Видеорекордер TEAC
  • Мониторы пациента
    • Мониторы пациента Dixion
  • Медицинские стойки для аппаратуры
    • Classic-cart
    • Compact-cart
    • Symbio-cart
    • Vexio-cart
    • Аксессуары
    • Медицинские стойки ScopeCare
    • Compact-cart (OC.2)
    • Uni cart
    • Pro-cart
  • Дефибрилляторы
    • Дефибрилляторы Dixion
  • ИВЛ
    • ИВЛ Dixion
  • ЛОР-комбайны
    • ЛОР-комбайны Dixion
  • Наркозные аппараты
    • Наркозные аппараты и аксессуары Dixion
  • Операционные столы
    • Операционные столы Dixion
  • Палатные рентгены
    • Палатные рентгены Dixion
  • Функциональные кровати
    • Функциональные кровати Dixion
  • Электрокоагуляторы
    • Электроагуляторы Dixion и аксессуары
Новости
Сервис
Контакты
Наши друзья
0
0
Самара, пос. Смышляевка, ул. Механиков, здание 12 Г
+7 846 203-17-84
+7 846 203-17-84
E-mail
info@medincom.org
Адрес
Самара, пос. Смышляевка, ул. Механиков, здание 12 Г
Режим работы
Пн.–Чт.: с 8:30 до 17:30
Пт.: с 8:30 до 16:30
0 Сравнение
0 Корзина
Мединком
Компания
  • О компании
  • Лицензии
  • Производители
  • Партнеры
Каталог
  • Одноразовые эндоскопические инструменты (ZPM)
    Одноразовые эндоскопические инструменты (ZPM)
    • Захватывающие щипцы одноразовые
    • Корзинки эндоскопические одноразовые
    • Петли эндоскопические одноразовые
    • Щипцы биопсийные одноразовые
  • Инструменты и аксессуары для эндоскопии
    Инструменты и аксессуары для эндоскопии
    • Биопсийные щипцы
    • Полипэктомия, EMR и ESD
    • Гемостаз
    • Захватывающие щипцы
    • Устранение стриктур
    • Принадлежности для эндоскопии
    • Хирургические операции протоков желчного пузыря и поджелудочной железы
    • Инструменты для бронхоскопии
    • Пункция под контролем ультразвука
    • Очистка, дезинфекция и стерилизация
  • Инструменты и оборудование для хирургии
    Инструменты и оборудование для хирургии
    • Урология
    • Гинекология
    • Хирургия
    • Интубация
    • Артроскопия
    • Оборудование
  • Эндоскопическое оборудование
    Эндоскопическое оборудование
    • Медицинские эндоскопы
    • Видеопроцессоры и источники света
  • Электрохирургия
    Электрохирургия
    • Система ESG-300 и аксессуары
    • Система ESG-150 и аксессуары
  • Медицинские тележки для хранения эндоскопов и инструментов
    Медицинские тележки для хранения эндоскопов и инструментов
    • Медицинские тележки ScopeCare
  • Мониторы
    Мониторы
    • Мониторы Beacon
    • Мониторы FSN
    • Мониторы ScopeCare
  • Инсуффляторы
    Инсуффляторы
    • Инсуффлятор Olympus и акссесуары
    • Инсуффляторы Prometheus
  • Насосы
    Насосы
    • Промывочный насос Olympus и аксессуары
  • Эндоскопические помпы
    Эндоскопические помпы
    • Эндоскопические помпы Prometheus
  • Аспираторы
    Аспираторы
    • Аспиратор Nouvag
    • Аспиратор Olympus и аксессуары
    • Аспираторы Dixion
  • Моечная машина для эндоскопов
    Моечная машина для эндоскопов
    • Установка моечная для промывки эндоскопов Olympus и аксессуары
    • Установки для мойки эндоскопов Prometheus
  • Тестеры герметичности
    Тестеры герметичности
    • Тестеры герметичности Prometheus
  • Медицинские видеорекордеры
    Медицинские видеорекордеры
    • Видеорекордер TEAC
  • Мониторы пациента
    Мониторы пациента
    • Мониторы пациента Dixion
  • Медицинские стойки для аппаратуры
    Медицинские стойки для аппаратуры
    • Classic-cart
    • Compact-cart
    • Symbio-cart
    • Vexio-cart
    • Аксессуары
    • Медицинские стойки ScopeCare
    • Compact-cart (OC.2)
    • Uni cart
    • Pro-cart
  • Дефибрилляторы
    Дефибрилляторы
    • Дефибрилляторы Dixion
  • ИВЛ
    ИВЛ
    • ИВЛ Dixion
  • ЛОР-комбайны
    ЛОР-комбайны
    • ЛОР-комбайны Dixion
  • Наркозные аппараты
    Наркозные аппараты
    • Наркозные аппараты и аксессуары Dixion
  • Операционные столы
    Операционные столы
    • Операционные столы Dixion
  • Палатные рентгены
    Палатные рентгены
    • Палатные рентгены Dixion
  • Функциональные кровати
    Функциональные кровати
    • Функциональные кровати Dixion
  • Электрокоагуляторы
    Электрокоагуляторы
    • Электроагуляторы Dixion и аксессуары
Новости
Сервис
Контакты
Наши друзья
    "/>
    Мединком
    Телефоны
    +7 846 203-17-84
    Заказать звонок
    0
    0
    Мединком
    • Компания
      • Компания
      • О компании
      • Лицензии
      • Производители
      • Партнеры
    • Каталог
      • Каталог
      • Одноразовые эндоскопические инструменты (ZPM)
        • Одноразовые эндоскопические инструменты (ZPM)
        • Захватывающие щипцы одноразовые
        • Корзинки эндоскопические одноразовые
        • Петли эндоскопические одноразовые
        • Щипцы биопсийные одноразовые
      • Инструменты и аксессуары для эндоскопии
        • Инструменты и аксессуары для эндоскопии
        • Биопсийные щипцы
          • Биопсийные щипцы
          • Щипцы для горячей биопсии
          • Биопсийные щипцы
        • Полипэктомия, EMR и ESD
          • Полипэктомия, EMR и ESD
          • Электрохирургические петли
          • Захватывающие щипцы
          • Устройство для наложения лигатур
          • Ножницы для срезания пластиковых лигатур
          • Спрей-катетеры
          • Дистальные насадки и колпачки
          • Комплекты для эндоскопической резекции слизистой
          • Ножи для ESD
          • Coagrasper
          • EndoLifter
        • Гемостаз
          • Гемостаз
          • Клипирующие устройства
          • Инъекционные иглы
          • Биполярные электроды
          • Coagrasper
          • Аргоноплазменные коагуляционные электроды
          • Баллонные катетеры
          • Устройства для лигирования
          • Ножницы для срезания пластиковых лигатур
        • Захватывающие щипцы
          • Захватывающие щипцы
          • Захватывающие щипцы
          • Корзинки
          • Захват с зубцами
        • Устранение стриктур
          • Устранение стриктур
          • Устройства для раздувания
        • Принадлежности для эндоскопии
          • Принадлежности для эндоскопии
          • ENDOCUFF VISION™
          • Загубники
          • Биопсийные клапаны
          • Многоразовые клапаны вода/воздух
          • Многоразовые аспирационные клапаны
          • Подача CO₂
          • Колпачки
          • Адаптеры для биопсии /ирригации
          • Дистальные колпачки
          • Разделяющие и покровные трубки
          • Вспомогательные трубки
          • Троакары
          • Баллоны ЭУС
          • Ультразвуковые баллонные аппликаторы
          • Миниатюрные зонды ЭУС
          • Принадлежности для ультразвуковых зондов
          • Принадлежности источника света
          • Принадлежности видеопроцессора
          • Световод для портативных эндоскопов
          • Контейнеры для воды
          • Средства для очистки линз
          • Аксессуары для эндоскопического аспиратора
          • Принадлежности для промывочного насоса
        • Хирургические операции протоков желчного пузыря и поджелудочной железы
          • Хирургические операции протоков желчного пузыря и поджелудочной железы
          • Проволочные проводники
          • Устройство для блокировки проволочного проводника и колпачок для биопсии
          • Сфинктеротомы
          • Ножи для предварительного рассечения
          • Баллоны для извлечения камней
          • Корзинки для извлечения камней
          • Механические литотрипторы
          • Экстренный литотриптор
          • Биопсийные щипцы
          • Билиарные баллонные дилататоры
          • Билиарные пластиковые стенты — предзаряженные
          • Наборы для установки стентов
          • Билиарные пластиковые стенты
          • Панкреатические пластиковые стенты
          • Назально-билиарные дренажные трубки
          • Цитологические щетки
          • Устройства для ЭРХПГ под контролем энтероскопа
        • Инструменты для бронхоскопии
          • Инструменты для бронхоскопии
          • Цитологические щетки
          • Аспирационные иглы для TBNA
          • Аспирационные иглы EBUS-TBNA
          • Наборы с направляющей оболочкой
          • Направляющее устройство
          • Баллонные катетеры
          • Захватывающие щипцы
          • Аргоноплазменные коагуляционные электроды
          • Щипцы для горячей биопсии
          • Бронхиальные клапаны для лечения эмфиземы и утечки воздуха
          • Загубники
          • Троакары
          • Баллоны и аппликатор баллона EBUS
          • Водозащитные колпачки / вентиляционные колпачки
          • Лотки для стерилизации
        • Пункция под контролем ультразвука
          • Пункция под контролем ультразвука
          • Аспирационные иглы EBUS-TBNA
        • Очистка, дезинфекция и стерилизация
          • Очистка, дезинфекция и стерилизация
          • Чистящие щетки
          • Водозащитные колпачки
          • Адаптеры для ручной очистки
          • Проверка на герметичность
          • Химическое вещество для ручной предварительной очистки
          • Химикаты для обработки методом РАА Pro (аппараты ETD)
          • Химикаты для обработки методом РАА (машины ETD)
          • Лотки для инструментов, системы лотков для инструментов, проволочные лотки для гибких и хирургических эндоскопов
      • Инструменты и оборудование для хирургии
        • Инструменты и оборудование для хирургии
        • Урология
          • Урология
          • Цистоскопия
          • Лечение заболеваний предстательной железы
          • Эндоурология
          • Детская урология
          • Урологическое оборудование
        • Гинекология
          • Гинекология
          • Гистероскопия
          • Гистерорезектоскопия
          • Гинекологическое оборудование
        • Хирургия
          • Хирургия
          • Телескопы
          • Троакары
          • Ручные инструменты
          • Хирургическое оборудование
        • Интубация
          • Интубация
          • Интубационный видеоскоп
          • Портативный интубационный фиброскоп Portaview
          • Интубационные фиброскопы
        • Артроскопия
          • Артроскопия
          • Артроскопы ULTRA 4 мм
          • TrueView II
          • Артроскопы для малых суставов
        • Оборудование
          • Оборудование
          • Оборудование для визуализации
          • Электрооборудование
          • Обработка
      • Эндоскопическое оборудование
        • Эндоскопическое оборудование
        • Медицинские эндоскопы
          • Медицинские эндоскопы
          • Видеогастроскопы
          • Видеоколоноскопы
        • Видеопроцессоры и источники света
          • Видеопроцессоры и источники света
          • Evis Lucera
          • Evis Exera III
          • Optera
          • Axeon
          • Источник света эндоскопический
          • Evis X1
          • Видеопроцессоры Prometheus
      • Электрохирургия
        • Электрохирургия
        • Система ESG-300 и аксессуары
        • Система ESG-150 и аксессуары
      • Медицинские тележки для хранения эндоскопов и инструментов
        • Медицинские тележки для хранения эндоскопов и инструментов
        • Медицинские тележки ScopeCare
      • Мониторы
        • Мониторы
        • Мониторы Beacon
        • Мониторы FSN
        • Мониторы ScopeCare
      • Инсуффляторы
        • Инсуффляторы
        • Инсуффлятор Olympus и акссесуары
          • Инсуффлятор Olympus и акссесуары
          • Инсуффлятор UCR и аксессуары
        • Инсуффляторы Prometheus
      • Насосы
        • Насосы
        • Промывочный насос Olympus и аксессуары
      • Эндоскопические помпы
        • Эндоскопические помпы
        • Эндоскопические помпы Prometheus
      • Аспираторы
        • Аспираторы
        • Аспиратор Nouvag
        • Аспиратор Olympus и аксессуары
        • Аспираторы Dixion
      • Моечная машина для эндоскопов
        • Моечная машина для эндоскопов
        • Установка моечная для промывки эндоскопов Olympus и аксессуары
        • Установки для мойки эндоскопов Prometheus
      • Тестеры герметичности
        • Тестеры герметичности
        • Тестеры герметичности Prometheus
      • Медицинские видеорекордеры
        • Медицинские видеорекордеры
        • Видеорекордер TEAC
      • Мониторы пациента
        • Мониторы пациента
        • Мониторы пациента Dixion
      • Медицинские стойки для аппаратуры
        • Медицинские стойки для аппаратуры
        • Classic-cart
        • Compact-cart
        • Symbio-cart
        • Vexio-cart
        • Аксессуары
        • Медицинские стойки ScopeCare
        • Compact-cart (OC.2)
        • Uni cart
        • Pro-cart
      • Дефибрилляторы
        • Дефибрилляторы
        • Дефибрилляторы Dixion
      • ИВЛ
        • ИВЛ
        • ИВЛ Dixion
      • ЛОР-комбайны
        • ЛОР-комбайны
        • ЛОР-комбайны Dixion
      • Наркозные аппараты
        • Наркозные аппараты
        • Наркозные аппараты и аксессуары Dixion
      • Операционные столы
        • Операционные столы
        • Операционные столы Dixion
      • Палатные рентгены
        • Палатные рентгены
        • Палатные рентгены Dixion
      • Функциональные кровати
        • Функциональные кровати
        • Функциональные кровати Dixion
      • Электрокоагуляторы
        • Электрокоагуляторы
        • Электроагуляторы Dixion и аксессуары
    • Новости
    • Сервис
    • Контакты
    • Наши друзья
    Подать заявку
    • 0 Сравнение
    • 0 Корзина
    • +7 846 203-17-84
      • Телефоны
      • +7 846 203-17-84
      • Заказать звонок
    • Самара, пос. Смышляевка, ул. Механиков, здание 12 Г
    • info@medincom.org
    • Пн.–Чт.: с 8:30 до 17:30
      Пт.: с 8:30 до 16:30

    Запасные части для тубусов троакара

    Главная
    —
    Продукты
    —
    Инструменты и оборудование для хирургии
    —
    Артроскопия
    —
    TrueView II
    —Запасные части для тубусов троакара
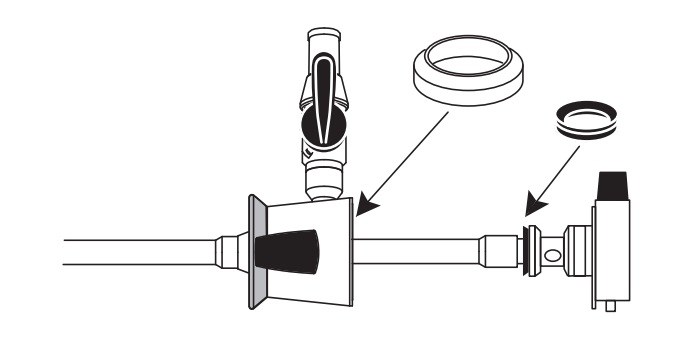
    Запасные части для тубусов троакара
    Запасные части для тубусов троакара
    Запасные части для тубусов троакара
    A00507A
    A00507A
    Арт. A00507A
    Обозначение — A00507A
    Описание — Уплотнители, набор
    В корзину
    Сравнить
    Назад к списку
    Компания
    Каталог
    Новости
    Сервис
    Контакты
    +7 846 203-17-84
    +7 846 203-17-84
    E-mail
    info@medincom.org
    Адрес
    Самара, пос. Смышляевка, ул. Механиков, здание 12 Г
    Режим работы
    Пн.–Чт.: с 8:30 до 17:30
    Пт.: с 8:30 до 16:30
    info@medincom.org
    Самара, пос. Смышляевка, ул. Механиков, здание 12 Г
    © 2026 Аспро: Корпоративный сайт 3.0
    Политика конфиденциальности
    0 Корзина

    Ваша корзина пуста

    Исправить это просто: выберите в каталоге интересующий товар и нажмите кнопку «В корзину»
    Перейти в каталог
    Главная 0 Корзина 0 Сравнение Поиск Каталог Контакты Бренды Новости